衢州市氟硅经贸摩擦预警点

电话:0570-8358589   8021016
联系人:储秋雷
QQ:点击这里给我发消息
地址:衢州市西区白云中大道37号
          市级机关综合大楼

国内行情

首页>> 国内行情
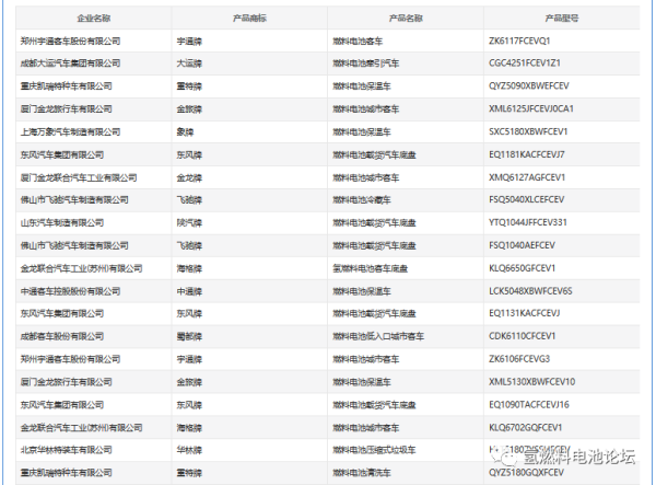
工信部第340批公告:13个企业21款氢燃料电池汽车产品上榜!
* 来源 :工业和信息化部、高工氢电 * 作者 :fgwmyj * 发表时间 :2021-01-19 * 浏览 : 884

1月12日,工信部公布《道路机动车辆生产企业及产品公告》(第340批),其中申报新能源汽车产品的共有72户企业198个型号,其中纯电动产品共62户企业166个型号、插电式混合动力产品共8户企业11个型号、燃料电池产品共13户企业21个型号。

从车型分布来看,燃料电池城市客车、燃料电池低入口城市客车、燃料电池客车底盘等客车车型共8款,占比38.09%;燃料电池牵引汽车等重卡车型共1款,占比4.76%;燃料电池清洗车、燃料电池压缩式垃圾车等环卫车型共2款,占比9.52%;燃料电池冷藏车、燃料电池保温车、燃料电池载货汽车底盘等物流车型共10款,占比47.61%。

从上榜的车企来看,东风汽车位列榜首,有3款;成都客车、佛山飞驰、金龙联合、重庆凯瑞、宇通客车、厦门金旅并列第二,均有2款上榜;成都大运、厦门金龙、山东汽车、中通客车、北京华林、上海万象等均有1款车型上榜。

从配套的燃料电池系统厂商来看,共有12家燃料电池企业为21款车型配套。其中,广东鸿力氢动共配套4款,位列第一;爱德曼有3款车型配套位列第二;重塑科技、深兰科技、明天氢能、张家口喜玛拉雅氢能均配套2款,位列第三。东方电气、德燃动力、恒动氢能、捷氢科技、亿华通、四川锋源氢能等均有1款配套。

值得一提的是,恒动氢能、深兰科技、张家口喜玛拉雅氢能、四川锋源氢能这四家公司作为燃料电池配套商首次亮相工信部公告。

以下是这4家首次上榜工信部公告企业的介绍:

一、恒动氢能(北京)科技有限公司

资料显示,恒动氢能(北京)科技有限公司(下称“恒动氢能”)成立于2019年5月,公司经营范围是新能源技术开发、技术转让、技术咨询等。2019年7月,上海恒劲动力与恒动氢能签订了《燃料电池车用动力定制开发和技术转让协议》,合同金额6000万元;另有各型号电机的定制框架协议。

二、深兰科技(上海)有限公司

深兰科技是一家快速成长的人工智能企业,自2014年由归国博士团队创建以来,致力于人工智能基础研究和应用开发,人工智能产业链智能软件输出及自主硬件设计和制造。2020年9月,深兰科技与上海清能达成战略合作,拟把人工智能与氢燃料电池技术进行深度结合并应用到移动能源中。双方还签订了深兰清能氢能联合实验室共建合作协议,未来将聚焦人工智能和氢能源领域。

深兰科技汽车事业群在采用自主开发的AI智能控制技术和氢燃料电池电堆及发动机系统设计集成技术的基础上,开展了熊猫智能氢燃料物流车的整车设计,现已打造了几款深兰熊猫智能氢燃料物流车。深兰科技还与中通快递股份有限公司上海分公司、九双(上海)新能源科技有限公司签署AI氢能熊猫智能物流车三方合作协议,就氢能源、人工智能赋能等领域开展合作。

三、张家口喜玛拉雅氢能科技有限公司

张家口喜玛拉雅氢能科技有限公司由广东喜玛拉雅在张家口投资设立的控股子公司,其持有张家口喜玛拉雅85%的股份。2020年11月,张家口喜玛拉雅氢能与中通客车联合研发推出氢燃料电池特种车项目,该项目主要车型有氢燃料压缩式垃圾车、氢燃料电池清洗车等。

四、四川锋源氢能科技有限公司

四川锋源氢能成立于2020年10月,是锋源新创科技(北京)有限公司的全资子公司,锋源新创的实际控制人王海峰同时也是浙江锋源氢能的董事长。

浙江锋源氢能成立于2015年,专注于车用燃料电池电堆及其核心零部件的研发与生产。其电堆技术源自清华,核心零部件(三层)达到全自主化,锋源氢能自主研发的石墨板电堆2020年已经通过国家强检,额定功率密度3kW/L,峰值功率密度>3.2kW/L。目前,该产品已经量产并已经出货。